Электрические приборы и аппараты устанавливают в специальных судовых распределительных устройствах, изготовленных из унифицированных металлических конструкций.
Распределительные устройства (РУ) обеспечивают прием электроэнергии и распределение ее между приемниками. Они представляют собой сварные металлические каркасы, на которых смонтирована коммутационная, регулирующая, защитная, измерительная и сигнальная аппаратура. Конструкция устройства предусматривает защиту аппаратуры от воздействия окружающей среды.
По назначению в системах распределения электроэнергии па судах различают:
ГЭРЩ предназначен для управления, защиты, контроля и регулирования параметров электроэнергетической установки и распределения электроэнергии по судну в целом.
АРЩ выполняет ту же роль, что и ГЭРЩ, но для аварийных источников тока и приемников, работающих в аварийном режиме.
Групповым называют распределительное устройство, служащее для питания нескольких РЩ и получающее питание непосредственно от ГЭРЩ и АРЩ.
ЩП обеспечивают контроль и управление работой отдельных приемников со сложными схемами, например рулевого устройства, брашпиля и т. д.
КЩ служат для контроля за работой генераторов или отдельных групп приемников, связанных между собой технологическим процессом, например контрольные щиты холодильных установок, вспомогательных механизмов, механизмов судовых систем и др.
Специализированные щиты предназначены для строго определенных целей, например щит питания с берега или щит зарядки аккумуляторов и др. ЩО предназначены для питания цепей освещения, ПУ - для дистанционного контроля и управления работой генераторных агрегатов и ответственных приемников энергии.
По степени защищенности от воздействия окружающей среды распределительные устройства подразделяются на защищенные, брызгозащищенные, водозащищенные и герметичные.
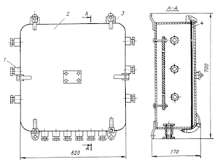
При водозащищенном исполнении щита (рис. 2) дверца 2 прижимается к корпусу щита специальными натяжными замками 3. В местах прилегания дверцы к корпусу устанавливают уплотнительную прокладку 4. Кабели и провода вводят через сальники 1 с резиновыми уплотняющими кольцами, находящимися снизу или сбоку щита. Измерительные приборы могут быть установлены внутри корпуса, тогда дверцы снабжаются застекленными окнами для наблюдения за показаниями приборов. При наружной установке применяются приборы также в водозащищенном исполнении.
Распределительные устройства водозащищенного исполнения размещают на открытых палубах, в помещениях, куда могут проникать брызги от воды, а также в душевых, банях, трюмах и в сырых неотапливаемых помещениях.
По способу установки на судне различают щиты, вертикально устанавливаемые на палубах, подвесные, закрепляемые на переборках, и встроенного типа. Электрооборудование щитов может быть выполнено по двухпроводной изолированной системе для сетей постоянного и однофазного переменного тока или по трехпроводной изолированной системе для сетей трехфазного переменного тока.
В распределительных щитах неизолированные токопроводящие шины и неизолированные провода должны быть окрашены в следующие цвета:
Распределительные устройства (РУ) обеспечивают прием электроэнергии и распределение ее между приемниками. Они представляют собой сварные металлические каркасы, на которых смонтирована коммутационная, регулирующая, защитная, измерительная и сигнальная аппаратура. Конструкция устройства предусматривает защиту аппаратуры от воздействия окружающей среды.
По назначению в системах распределения электроэнергии па судах различают:
- главные электрораспределительные щиты (ГЭРЩ);
- аварийные распределительные щиты (АРЩ);
- групповые распределительные щиты (РЩ):
- щиты отдельных приемников (ЩП);
- контрольные щиты (КЩ);
- зарядные щиты (ЗЩ);
- щиты питания с берега (ЩПБ);
- щиты освещения (ЩО):
- пульт управления (ПУ).
ГЭРЩ предназначен для управления, защиты, контроля и регулирования параметров электроэнергетической установки и распределения электроэнергии по судну в целом.
АРЩ выполняет ту же роль, что и ГЭРЩ, но для аварийных источников тока и приемников, работающих в аварийном режиме.
Групповым называют распределительное устройство, служащее для питания нескольких РЩ и получающее питание непосредственно от ГЭРЩ и АРЩ.
ЩП обеспечивают контроль и управление работой отдельных приемников со сложными схемами, например рулевого устройства, брашпиля и т. д.
КЩ служат для контроля за работой генераторов или отдельных групп приемников, связанных между собой технологическим процессом, например контрольные щиты холодильных установок, вспомогательных механизмов, механизмов судовых систем и др.
Специализированные щиты предназначены для строго определенных целей, например щит питания с берега или щит зарядки аккумуляторов и др. ЩО предназначены для питания цепей освещения, ПУ - для дистанционного контроля и управления работой генераторных агрегатов и ответственных приемников энергии.
По степени защищенности от воздействия окружающей среды распределительные устройства подразделяются на защищенные, брызгозащищенные, водозащищенные и герметичные.
При водозащищенном исполнении щита (рис. 2) дверца 2 прижимается к корпусу щита специальными натяжными замками 3. В местах прилегания дверцы к корпусу устанавливают уплотнительную прокладку 4. Кабели и провода вводят через сальники 1 с резиновыми уплотняющими кольцами, находящимися снизу или сбоку щита. Измерительные приборы могут быть установлены внутри корпуса, тогда дверцы снабжаются застекленными окнами для наблюдения за показаниями приборов. При наружной установке применяются приборы также в водозащищенном исполнении.
Распределительные устройства водозащищенного исполнения размещают на открытых палубах, в помещениях, куда могут проникать брызги от воды, а также в душевых, банях, трюмах и в сырых неотапливаемых помещениях.
По способу установки на судне различают щиты, вертикально устанавливаемые на палубах, подвесные, закрепляемые на переборках, и встроенного типа. Электрооборудование щитов может быть выполнено по двухпроводной изолированной системе для сетей постоянного и однофазного переменного тока или по трехпроводной изолированной системе для сетей трехфазного переменного тока.
Рис. 1. Принципиальная схема электрических соединений (распределительных устройств)
Рис. 2. Распределительный щит водозащищенного исполнения
В распределительных щитах неизолированные токопроводящие шины и неизолированные провода должны быть окрашены в следующие цвета:
- при постоянном токе: положительный полюс — красный; отрицательный полюс — синий; уравнительная шина (провод) — белый; заземляющая шина (провод) черный;
- при переменном токе: фаза А— зеленый; фаза В — желтый; фаза С — фиолетовый; нулевая шина (провод) — серый; заземляющая шина (провод) — черный.
- белый — отключенное состояние, или закрытое положение, или вызовы, надписи и другая осведомительная информация;
- зеленый включенное состояние, наличие питания, или параметры находятся в допустимых пределах, или разрешение производить действие;
- желтый предупреждение о приближении опасности, аварии, или параметр приблизился к пределам недопустимых значений;
- красный — аварийное состояние, опасность, или параметр вышел за пределы допустимых значений, или запрещено выполнять действие.

